Интересные и необычные ЭВП

Тема в разделе 'Электронно-вакуумные приборы', создана пользователем suslox, 12 окт 2009.

  1. klapaucy

    klapaucy Пользователь

    Сообщения:
    328
    Симпатии:
    319
    Баллы:
    63
    Я не сообразил заглянуть в справочник Бараночникова, а, оказывается, он там есть! "Конструктивной особенностью фотоумножителя 14ЭЛУ-Ф является наличие двух каналов усиления, работающих от одного фотокатода на один общий коллектор, выполненный в виде широкополосной системы типа ленточной линии, переходящей в коаксиальный выход.
    ...
    Фотоумножители использовались в качестве первичных измерительных преобразователей в измерительных цепях с осциллографическими регистраторами при исследовании быстропротекающих процессов в видимой и ближней инфракрасной областях спектра."
    Последняя фраза относится ко всей группе ххЭЛУ-Фх. А именно этот, 14ЭЛУ-ФС, судя по спектральной чувствительности, ИК не видел, зато частично "залезал" в ультрафиолет...
     
    Упырь Болотный нравится это.
  2. AlexDark

    AlexDark Пользователь

    Сообщения:
    630
    Симпатии:
    174
    Баллы:
    43
    Адрес:
    Нальчик
  3. Entladung

    Entladung Активный пользователь

    Сообщения:
    1.096
    Симпатии:
    1.057
    Баллы:
    113
    Дейтерий меньше жестится.
    Водород доступнее.
     
  4. Упырь Болотный

    Упырь Болотный Пользователь

    Сообщения:
    699
    Симпатии:
    3.669
    Баллы:
    93
    Пол:
    Мужской
    Адрес:
    Москва
    Уважаемый Suslox, Вы меня расстраиваете. :cry: Запрос в Гугл по слову "диссектор" четвертой же ссылкой дает следующую статью:

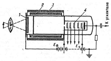
    Диссектор: (от лат. disseco - рассекаю) - передающий электронно-лучевой прибор без накопления электрического заряда, действие которого основано на внешнем фотоэффекте. В Д. поток фотоэлектронов (плотность которого соответствует распределению освещённости передаваемого изображения на поверхности фотокатода) отклоняется в двух взаимноперпендикулярных направлениях относительно т. н. вырезывающего отверстия в диафрагме; при этом с отверстием последовательно совмещаются все элементы электронного изображения. Электроны, прошедшие через отверстие, усиливаются вторично-электронным умножителем и поступают на коллектор, образуя видеосигнал (см. рис.). Д. обладает линейной световой хар-кой, высокой разрешающей способностью, малоинерционен. Применяется главным образом во вспомогательных автоматических системах телевидения (например, для определения положения источника света).
    0502-9.jpg
    Диссектор: 1 - фотокатод; 2 и 3 - отклоняющая и фокусирующая катушки; 4 - электронный умножитель; Еф и Еу - источники постоянного напряжения, подаваемого соответственна на фотокатод и электроды электронного умножителя.

    А что прожектора нет, так я могу точно также на голубом глазу заявить что 6ВС-1 с СГ6С тоже нихрена не электроннолучевые приборы. Прожекторы в них есть- зато отклонялок нет. :p А ЭОПы являются электроннолучевыми приборами в большей степени, чем потенциалоскопы: Ведь в них есть ЭКРАНЧИК!!! :cool:

    А еще есть необычайно познавательная статья в Википедии по электронно-лучевые приборы. В ней подробно рассказано, кто есть ЭЛП, а кто нет. Позволю себе, кстати, процитировать ее насчет того же диссектора:
    Диссектор («трубка мгновенного действия») — исторически первый тип передающей трубки, использовавшийся для астрономических наблюдений, устройствах промышленной автоматики и для сканирования документов. (с) Википедия.

    Что касается применения 31ЛН1- угу. Именно там, для них ее специально и придумали.

    Это не ведро с отростком, Вы ничего не понимаете! Это самец ведроида. :lol:
    А изолента да пусть рвется, крупные осколки она держит прекрасно. Видел я как такие бандажи работают, еще как помогает от взрыву.
     
    Last edited: 9 июл 2014
    mutabor нравится это.
  5. suslox

    suslox Пушистикс Staff Member

    Сообщения:
    10.207
    Симпатии:
    2.704
    Баллы:
    113
    Пол:
    Мужской
    Адрес:
    Москва
    в принципе я все это читал. но вопрос то интереснее: он о существовании реальной аппаратуры с диссекторами. может кто что видел, может есть фоты, схемы и тд?
    просто про применение видиконов и суперортиконов инфы и фоток полно, можно даже и камеру купить в том числе и рабочую:)а про диссекторы - ноль, кроме общих фраз из справочников...
     
  6. suslox

    suslox Пушистикс Staff Member

    Сообщения:
    10.207
    Симпатии:
    2.704
    Баллы:
    113
    Пол:
    Мужской
    Адрес:
    Москва
    ранее я выкладывал полостной приемник ПП-1.

    вот полный паспорт на него:

    [​IMG]

    [​IMG]

    [​IMG]

    [​IMG]

    [​IMG]

    [​IMG]

    [​IMG]

    [​IMG]

    [​IMG]

    [​IMG]

    [​IMG]
     
    klapaucy нравится это.
  7. Упырь Болотный

    Упырь Болотный Пользователь

    Сообщения:
    699
    Симпатии:
    3.669
    Баллы:
    93
    Пол:
    Мужской
    Адрес:
    Москва
    В те выходные еще обзавелся несколькими видиконами. 2 штуки (ЛИ-23 и ЛИ-401) у меня уже были, взял для резерву, благо недорогие. А вот ЛИ-441 и ЛИ-418 добыл впервые. ЛИ-418 приятно поразил габаритами.
    Слева направо и сверху вниз ЛИ-418, ЛИ-441, ЛИ-23 и ЛИ-401:
    [​IMG]
    Интересная особенность: второй ЛИ-401 у меня, и у второго фотокатод выглядит мальца облезлым. Если у кого-то есть еще такой прибор, поглядите, он такой же? Или мне просто не везет?
     
    Last edited: 13 июл 2014
    1Ж24Б и sseg нравится это.
  8. suslox

    suslox Пушистикс Staff Member

    Сообщения:
    10.207
    Симпатии:
    2.704
    Баллы:
    113
    Пол:
    Мужской
    Адрес:
    Москва
    завершаю показ полученных раритетов из внииофи.

    тоже не эвп - приемник радиационный ПРТЭ-6:

    [​IMG]

    имеется паспорт на него:

    [​IMG]

    [​IMG]

    что любопытно - в паспорте от руки отмечено, что он для ПРТЭ-6, но при этом в первом абзаце про ПРТЭ-6 вообще нет упоминаний :D
    также с этими образцами произошло именно то, что написано в п. 6.1 и 6.2 - их входные окна потрескались видимо от того, что набрали влаги.
     
  9. 1Ж24Б

    1Ж24Б Пользователь

    Сообщения:
    576
    Симпатии:
    167
    Баллы:
    43
    Пол:
    Мужской
    Получили напрямую ?

    Эх... это как на форумах по старым компьютерам "... я положил свой "Спектрум" в сарай на пять лет, а когда сегодня извлёк, он отказался работать..." :lol:
     
  10. suslox

    suslox Пушистикс Staff Member

    Сообщения:
    10.207
    Симпатии:
    2.704
    Баллы:
    113
    Пол:
    Мужской
    Адрес:
    Москва
    получил от человека, который когдато работал во внииофи. ясное дело, что эти термоэлементы давно уже никто не хранил как полагается.
     
  11. 1Ж24Б

    1Ж24Б Пользователь

    Сообщения:
    576
    Симпатии:
    167
    Баллы:
    43
    Пол:
    Мужской
  12. Анархист

    Анархист Пользователь

    Сообщения:
    192
    Симпатии:
    477
    Баллы:
    63
    Пол:
    Мужской
    Пришла такая вот панель именуемая ИГПП 100/100:) на вид и состояние в нутри совсем новая!главное что начинку не покусали драгметчики;)
     

    Вложения:

    Упырь Болотный нравится это.
  13. 1Ж24Б

    1Ж24Б Пользователь

    Сообщения:
    576
    Симпатии:
    167
    Баллы:
    43
    Пол:
    Мужской
    Да, по КМ-кам видно ;) Что за микросхемы на снимке ? Запускать будете ?
     
  14. Анархист

    Анархист Пользователь

    Сообщения:
    192
    Симпатии:
    477
    Баллы:
    63
    Пол:
    Мужской
    микросхемки 588ИР1:) нет запускать не буду,панель уежает одному очень хорошему человеку;)
     
  15. suslox

    suslox Пушистикс Staff Member

    Сообщения:
    10.207
    Симпатии:
    2.704
    Баллы:
    113
    Пол:
    Мужской
    Адрес:
    Москва
    очень необычный у вас вариант! видел на форумах ряд видов этой панели, но в данными микрами - никогда.
    какого года модуль? был ли общих кожух с биркой с указанием типа модуля?
     
  16. Анархист

    Анархист Пользователь

    Сообщения:
    192
    Симпатии:
    477
    Баллы:
    63
    Пол:
    Мужской
    модуль 1990 года:)на панели только написано название и год выпуска,а с другой стороны надписи от руки...
     
    Упырь Болотный нравится это.
  17. suslox

    suslox Пушистикс Staff Member

    Сообщения:
    10.207
    Симпатии:
    2.704
    Баллы:
    113
    Пол:
    Мужской
    Адрес:
    Москва
    похоже либо малосерийный, либо заказной под конкретные изделия...
     
  18. 1Ж24Б

    1Ж24Б Пользователь

    Сообщения:
    576
    Симпатии:
    167
    Баллы:
    43
    Пол:
    Мужской
    Обычно там логика в пластмассе. На нижней плате ключи в золочёных планарных корпусах ?
     
  19. Анархист

    Анархист Пользователь

    Сообщения:
    192
    Симпатии:
    477
    Баллы:
    63
    Пол:
    Мужской
    да на всех платах просматривается планарная логика в керамических корпусах с позолотой:)
     
  20. Упырь Болотный

    Упырь Болотный Пользователь

    Сообщения:
    699
    Симпатии:
    3.669
    Баллы:
    93
    Пол:
    Мужской
    Адрес:
    Москва
    Помещу еще пару фотографий, с весьма поучительными историями.
    Осциллографическая трубка 17ЛО1И:
    [​IMG]
    В принципе, особо не собирался ее искать, думал обычная. 17ЛО2Х, 17ЛО4И есть, куда еще? И тут мне совсем на халяву достался убитый осцил С1-91, я извлек трубу и ахнул.
    Необычайно сложная пушка со множеством электростатических линз имеет такую длину, что в весьма длинную прозрачную часть баллона попал только один комплект отклоняющих пластин. Второй вместе с еще несколькими элементами линз прячется под черным покрытием анода.

    Отсюда вывод: никогда не зарекаться что "это неинтересно", не увидев самого предмета. И как лишнее подтверждение этому выводу, следующий экземпляр,
    Безымянный фотоэлемент:
    [​IMG]
    Фотоэлементы не являются профильными для меня объектами собирания, я беру их только если они очень понравились мне чисто внешне. И тут предложили мне фотоэлемент... На первый взгляд ничем особо не примечателен- типовая конструкция, даже охранного кольца нету. Вывод фотокатода в отпае на баллоне обломан под основание. Ну чем, чем он хорош? А вот если поглядеть на дату выпуска- вот тут-то и начинаешь радоваться этой вещи. Апрель 1937 года. На данный момент это- самый древний ЭВП в моей коллекции. Остается только благодарить случай и человека, благодаря которому этот бесценный экземпляр достался мне.
     
    mutabor, klapaucy, Entladung и 2 другим нравится это.

Поделиться этой страницей