проектор-рисовалка без зеркал

Тема в разделе 'Строящиеся проекты', создана пользователем Посетитель, 9 ноя 2010.

  1. enclis

    enclis Пользователь

    И на чем же вы собираетесь делать "пьезоотклонение"?
     
  2. Посетитель

    Посетитель Пользователь

    Если отключать лазер вне рабочих углов сканирования, то будут очень большие паузы простоя - скважность строк.
    Чем меньше зеркал по периметру, тем больше у каждого из них углы отражений.

    Насчет пьезо только еще предстоит все выяснить. Впрочем как и по электростатическим отклонялкам (по принципу электростатических динамиков).

    Но еще раз повторю, меня интересуют только очень малые углы разверток! Это немного отличается от традиционных решений в проекторах.
     
  3. enclis

    enclis Пользователь

    сам очень давно пробовал сделать на пьезоэлементах - ничего вменяемого не получилось( если у вас получится - буду аплодировать стоя)
     
  4. Посетитель

    Посетитель Пользователь

    enclis, согласен - с пьезо пока облом. Перелопатил сегодня весь инет - нигде и ничего, что можно было бы использывать прототипом отклонялки.

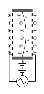
    Единственная надежда на электростатику. Что при этом удобно, что лавсановая зеркальная металлизированная пленка и является электростатическим движителем. Это обычная "цветочная" пленка! :) Не нужно никаких дополнительных зеркал.
    Она с малым натягом помещается между двумя сеточными электродами. При изменении высоких потенциалов между электродами и пленкой начинается ее пропорциональное перемещение. Получается идеальная безинерционная отклоняющая система.
    За основу можно взять патроха электростатического динамика.
    Надо пробывать.[attachment=0:3puw0dqz]статическая отклонялка.gif[/attachment:3puw0dqz]
     

    Вложения:

  5. gml

    gml Пользователь

    Синий лазер прожжет эту пленку за пару секунд.

    По поводу барабана - чем больше диаметр и больше зеркал тем меньше угол отклонения луча.
     
  6. Посетитель

    Посетитель Пользователь

    Про барабан абсолютно верно. Если б мне была нужна широкоформатная рисовалка, не задумываясь взял бы блок от старого лазерного принтера для строчной развертки. Лучше просто невозможно придумать. В этом блоке уже есть электроника раскрутки шпиндельного движка зеркального барабана, схема синхронизации начала луча, идеальные зеркала барабана, герметичный корпус.

    Насчет пленки, почему прожет? Ведь она зеркальная. В крайнем случае наклеить поверх нее в точке падения луча маленькое тонкое металлическое зеркальце.
     

    Вложения:

  7. AZM.SU

    AZM.SU Пользователь

    Примерно то же самое и задумывал, перебрал практические реализации идей:
    1) Барабан от лазерника;
    2) Шаговики;
    3) Самодельные гальванометры;
    4) Зеркала на пружинном подвесе + магниты/соленоиды;
    5) Поворот линзы коллиматора, опять же на магнитно-динамическом управлении.
    Пьезо вообще не рассматривал по ряду причин (линейности никакой, напряжения для больших механических мощностей нужны высокие).

    Остановился на гальванометрах заводских, хоть и китайских, работают просто замечательно.
    Угол отклонения изменить - просто подкрутить подстроечник.
    В общем любой другой конструктив, любой самопал сейчас мне представляется каким-то извращением, хотя я люблю выпилить что ни будь, наклеить куда ни будь зеркальце и намотать штук 20 разных катушек, что бы посмотреть какая будет лучше работать и всё же учитывая цену фабричных гальванометров безоговорочно отдаю предпочтение им, ибо своими руками своим глазам доказал, что механика самого дешманского гальванометра на 20к точек работает лучше чем лучшее что я выпилю дома напильником и насажу на подшипники от головки убитого ноутбучного винта (самые мелкие и качественные которые легко найти).
    А вот силовуха управления гальванометрами основанная на цифре оказалась лучше аналоговой в частности по энергопотреблению и тепловыделению, что и ожидалось.

    Ничего не имею против Ваших идей, просто мысли вслух.
     
  8. Посетитель

    Посетитель Пользователь

    AZM.SU, абсолютно с вами согласен насчет использования готовых узлов. Особенно с тонкой механикой.
    Я-то в тему пришел пару дней назад на новенького, а тут многие, как и вы, уже все перепробывали практически, своими руками.
    На изобретение велосипеда сподвигло полное незнание темы, и предстоящее приобретение синих 1Вт лазеров. Занятная хрень.
    А тут еще на глаза попалась заметка http://www.membrana.ru/articles/health/ ... 54300.html про лазерную пушку.
    Подумалось сделать такую-же в миниатюре. А для этого требуется быстрая и точная система обнаружения и позиционирования.
    Вот и решил для начала немного поэкспериментировать на простом, как говорится, набить руку.
    Просто тыркать лучом в небо неинтересно. А вот разыграть народ появлением в небе НЛО, или чего-то загадочного прикольно.
    А для этого (в моем понимании) нужна узкоформатная дальнобойная рисовалка. Но только качественная.
    AZM.SU, вы тут абсолютно правы, никакими самоделками из чего попало высокого качества не получишь.
    Тогда сразу вам вопрос, а что это за китайские отклонялки, и где их можно заказать?
     
  9. winnorokomo

    winnorokomo Пользователь

    Могу помочь с заказом, у меня с Китайцами по гальво взаимодействие налажено
     
  10. enclis

    enclis Пользователь

    сканеры можно посмотреть здесь - http://lasershowparts.ru/, но все таки не отбрасываете идею с пьезоэлементами
     
  11. Ryazanec

    Ryazanec Модератор Staff Member

    Я так же ваял разные конструкции, вплоть того что зеркала на огрызок динамика клеил и обрезаным диффузором, на небольших скоростях рисовало, даже что то на картинку похожее если выводить правильные сигналы.

    Гальванометры стоят 85 доларов скорость 20К в комплекте идут платы управления ими и блок питания.
     
  12. winnorokomo

    winnorokomo Пользователь

    На этом сайте они стоят практически в разы дороже, чем я заказываю напрямую у китайцев..

    Только не платы управления в комплекте, а усилители, хотя, не суть важно
     
  13. Ryazanec

    Ryazanec Модератор Staff Member

    Ну я их так назвал просто - а вообще да - усилители с цепью обратной связи :)
     
  14. Посетитель

    Посетитель Пользователь

    Прошу прощения за делитанский вопрос, 20К точек это примерно 140х140, и можно ли изменять угол проецирования? Или сужение угла проецируемой картинки только за счет снижения разрешения и неиспользования краевых точек?
     
  15. Ryazanec

    Ryazanec Модератор Staff Member

    при угле 20 град расхождения максимальна скорость 20 К а при 5 градусах уже 35К
     
  16. winnorokomo

    winnorokomo Пользователь

    20к точек - это при угле в 25'. Если угол в районе 5', то даже до 35к точек. Чем меньше угол, тем ближе точки между собой, соответственно, тем быстрее луч оказывается в конкретной точке.
     

    Вложения:

    • PT-20K.pdf
      Размер файла:
      61,7 КБ
      Просмотров:
      2.111
  17. Ryazanec

    Ryazanec Модератор Staff Member

    но 25 это максимальна скорость а не реальная тоесть можно менять угол во время выведения графики при этом не изменяя скорость :) то есть меняя только размер изображения.

    если вам нужно вывести картинку 32х32 то на скорости 20 К вы получите 19,5 кадров в секунду на угле 20 градусов

    если для вас это мало то делаете угол 5 градусов и получаете уже предел в 33,5 кадров в сек.
     
  18. Посетитель

    Посетитель Пользователь

    А какая "частота кадров"? За сколько времени полный растр?
    Угол развертки регулируется программно?

    Правка: Опоздал с вопросом на одно сообщение.
     
  19. Ryazanec

    Ryazanec Модератор Staff Member

    угол развертки или програмно или подстроечниками, чем больше амплитуда сигнала тем больше угол.
    20К это 20 тысяч точек в секунду.
     
  20. Ryazanec

    Ryazanec Модератор Staff Member

    Кстати вот вам ссылка на проектор с такими гальванометрами.
    http://www.elektroda.pl/rtvforum/topic1676990.html

    Тема перерастает в другую, и название уже не соответствует, переносите обсуждение в другие темы или меняйте название в зависимости от того что вы еще хотите узнать.
     

Поделиться этой страницей